1. plug torque test device of iec60065 figure 11

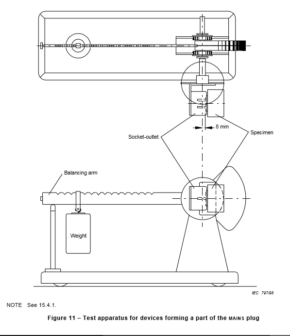
      Product Description:Name:plug torque test device of iec60065 figure 11Type:BND-CTLJStandards:BS1363.3,IEC60884,VDE0620,IEC60598,IEC60065 fig11ApplicationSocket-outlet Torque Balance Tester is used for test the torque strain exerted by the inputsocket-outlet and the devices with plug pins on output socketoutlets.The balancing arm of the test center lines of the contact tubes of the
      Description

      Product Description:

      Name:plug torque test device of iec60065 figure 11

      Type:BND-CTLJ

      Standards:BS1363.3,IEC60884,VDE0620,IEC60598,IEC60065 fig11


      Application

      Socket-outlet Torque Balance Tester is used for test the torque strain exerted by the input

      socket-outlet and the devices with plug pins on output socketoutlets.

      The balancing arm of the test center lines of the contact tubes of the

      socket-outlet at a distance of 8 mm behind the engagement face of the socket-outlet.

      With the engagement,the balancing arm is in equilibrium, the engagement face of the

      socket-outlet being in the vertical position.

      After the device has been engaged,the torque to be applied to the socket-outlet to maintain its engagement face in the vertical plane is determined by the position of a weight on the balance arm.

      Due to the different standards of different countries,the device are contained three socket clamps,If the needed clamps are more than 3 ,on request.

      In addition ,it includes a 5N weight and a 1N weight


      Type:

      weight

      2.5N*1, 1N*1

      Plug

      UL plug*1, European plug*1,all-purpose plug*1

      Conforms to standard

      IEC60884,VDE0620,IEC60598,IEC60065Fig11

      Arm of force

      0-200mm

      The distance from the contact surface and the Axis of the surface

      8mm


      2.jpg

      1.jpg

      3.jpg


      DusYHjavascript:void();